multi bag filter housing, bag filter, multi bag  housing manufacturer of China

Self Cleaning Filter Strainer

Fully automatic Self cleaning filter strainer can filter raw water and wash filter cartridge automatically. During the wash, the system supplies water continuously, so customers can monitor filterĄ¯s working condition. This kind of filter has high automation and itĄ¯s the promotion and substitute of the common screen filtering equipments. Customers can choose different models according to the system waterĄ¯s treatment capacity, filtering precision, washing method, washing control method, working conditions (such as temperature, pressure, and space design) and so on.

Fully Automatic Self cleaning filter strainer is widely used in the circulating and non-circulating water supply system, heat exchange system, central air conditioning system, central heating system, hot water boiler systems in the industries of steel, metallurgy, chemical, electric power, construction, rubber, paper, textile, coal, agriculture, municipal, heating water and food, etc. to remove the impurities in water, to improve water quality and to protect key equipments in the systems.

Self Cleaning Filter Strainer
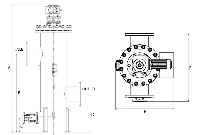
Self Cleaning Filter Strainer SIZE DRAWING
SELF CLEANING FILTER STRAINER SPEC TABLE

Model

I/O

A

B

C

D

E

F

Weight

(inch)

mm

mm

mm

mm

mm

mm

(Kg)

BSL3

3

1251

762

205

407

683

673

87

BSL4

4

1319

817

205

417

683

673

106

BSL5

5

1431

897

205

432

683

673

132

BSL6

6

1532

974

205

453

744

725

197

BSL8

8

1882

1201

205

481

820

777

248

BSL10

10

2150

1384

205

513

874

826

360

BSL12

12

2430

1597

100

632

939

908

486

BSL14

14

2740

1787

100

662

1026

1010

653

BSL16

16

3050

1972

100

692

1098

1111

765

BSL18

18

3360

2162

100

720

1199

1213

814

BSL20

20

3700

2375

100

760

1288

1250

920

about JS ENVIRONMENT
86-21-51078616  86-13681838039  sales@shbagfilter.com  No.1412 Jinshao Road, Shanghai, China
Home  |   About us  |  Filtration product |  Catalog downlaod  |  How to order  |  Filtration news |  Contact us  |  Sitemap
COPYRIGHT© 2019 SHANGHAI JS ENVIRONMENT EQUIPMENT CO., LTD.
Links: Google  Filter vessel  Filter bag  Liquid Filtration  Bag filter  Filter housing  Bag filter housing   Automatic Filtration  Multi bag filter housing
Bag filter housing ABOUT US PRODUCTS LIST NEWS DOWNLOAD CATALOG PRODUCT PHOTO FEEDBACK CONTACT US CN Product list Filter Bag Bag Filter Housing Plastic Filter Housing Multi Bag Filter Housing Automatic Self Cleaning Filter Automatic Back Washing Filter Filter Cartridge Other Filtration Products